Retour
  • Sciences Industrielles de l'Ingénieur (SII)
  • Accueil
  • !
  • Connexion
  • ar عربية
  • en English
  • Retour au Cours
  • Retour à la section
  • Signaler une erreur
  • 20 mars 2019

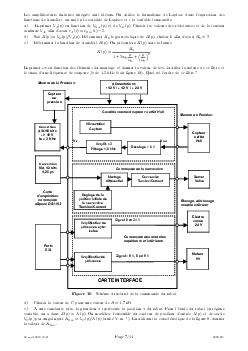
Centrale-Supelec TSI SII 1 2010 Epreuve

  1. Concours Sciences Industrielles TSI
  2. Concours Centrale-Supélec (CCS)
  3. Centrale-Supelec TSI SII 1 2010 Epreuve
Téléchargez le document
Retour
Maroc
  • Primaire
  • Collège
  • Lycée
France
  • Primaire
  • Collège
  • Lycée
Plus
  • Prépas CPGE
  • Divertissement
  • Vocabulaire
  • Connexion
  • S'inscrire
  • CGU
  • CGV
  • Contact

© 2025 AlloSchool. Tous droits réservés.

Rechercher